|
Characteristics and applications
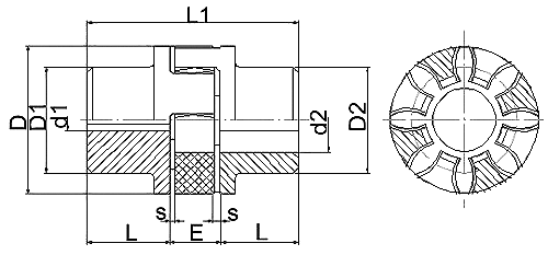
XL (LX) type elastic star coupling : compensate the relative deviation, damping, buffer capacity, small radial dimension, simple structure, no lubrication, high bearing capacity, maintenance, replacement of axial movement to the elastic element, and is suitable for connecting a coaxial line, frequent starting, reversing, speed medium torque transmission shaft and the requirements of high reliability work site. It is not suitable for heavy load, low speed and axial size by hardship, the replacement of elastic components of the two axes to the difficult position. Related products
XL - basic type;
XLD - expanded shaft type;
![]()
XL (LX) elastic spider coupling Basic Parameters And Main Dimensions(JB/T 10466-2004) mm
![]() |






